手机导航
网站首页
工作
招聘
岗位
猎头
急聘
人才
食品类!8.16
发布时间:2025-08-20 18:29:57
食品类!8.16
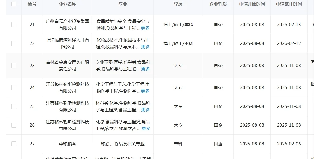
食品类新出央国企!\n食品类新出央国企!\n今日新出的央国企来啦! 最近校招真的新出了超多岗位,还没拿到offer的同学快快查漏补缺,抓住机会继续投递!\n \n✅要求:25-26届本科及以上\n26届同学现在就要开始投递了,趁着竞争人数少、上岸几率高,抢占先机!\n \n‼️不知道自己专业适合什么岗位的可以帮忙匹配~\n🍵岗:123\n
#食品就业方向
#国企秋招
#国企央企
#食品
#校招
#国企
#就业
#企事业单位
#大学生就业
#国企招聘
#铁饭碗
#国企校招
#国企求职
#就业前景广阔
#央国企校招
#发展前景好
#国企上岸
#国考选岗
#食品类专业
上一篇:
计算机类专业必投的央国企——秋招篇
上一篇:
合肥!一定要去的央国企
热门文章
千万不要裸考,事业编A有救了,直接背吧!
事业编第一名已上岸,去年9.15开始学的
校园招聘通用求职简历! HR一眼相中❗️
明天安阳事业编3h足矣,保本85分
简历模板套装|无偿分享,包含单页+自荐信
邯郸面试珍题!
杭州市西湖区21家事业单位公开招聘25人
这样设计简历 颜值直接拉满✨HR秒点开!
国庆前,先把免笔试的秋招投了吧‼️
四川事业编时政去年压中挺多,看看今年咋样
最新文章
真的需要工作就来,这两天急招,才这个价
HR超喜欢的小白表格简历模板来啦!可套用
国庆之前先来把这些免笔试的投完吧~
提醒一下,下下周六去参加内蒙古事业编的人
2025年下半年盐城射阳事业单位公开招聘50人
国庆前最后一批免笔试岗🥹,手慢无!🏃
拿了50多个面试邀约的秋招满分简历模板
邯山区名创优品的一天
别裸考❗后天信阳事业编时政无非就这100题
2022国航招聘简历,很卷吗?
推荐阅读
央企招聘、长沙央企招聘、央企直签、央企工
生物学研究院CICC!提供北京落户福利!
好学生思维是找不到好实习的!
中粮集团2026校园招聘
被国企偏爱的候选人都是这样准备面试的
25年某军工央企单位招聘生产保障岗8人
2026国企秋招开启!应届生速冲!🚀
9.25 保定国企 不是补录而是急招!!!
大学生就业管理热情诚信
常州央企招聘
10.9 假期结束啦,秋招持续更新中!
琼ICP备2025051398号-21
| QQ:888888888 | 地址:地球村88号 | 电话:1888888888 |
首页
搜索
留言
预订电话