当前位置:首页>华南>宗馥莉投的明星公司冲刺IPO,CFO薪酬最高!

宗馥莉投的明星公司冲刺IPO,CFO薪酬最高!

  • 2025-11-05 12:42:53

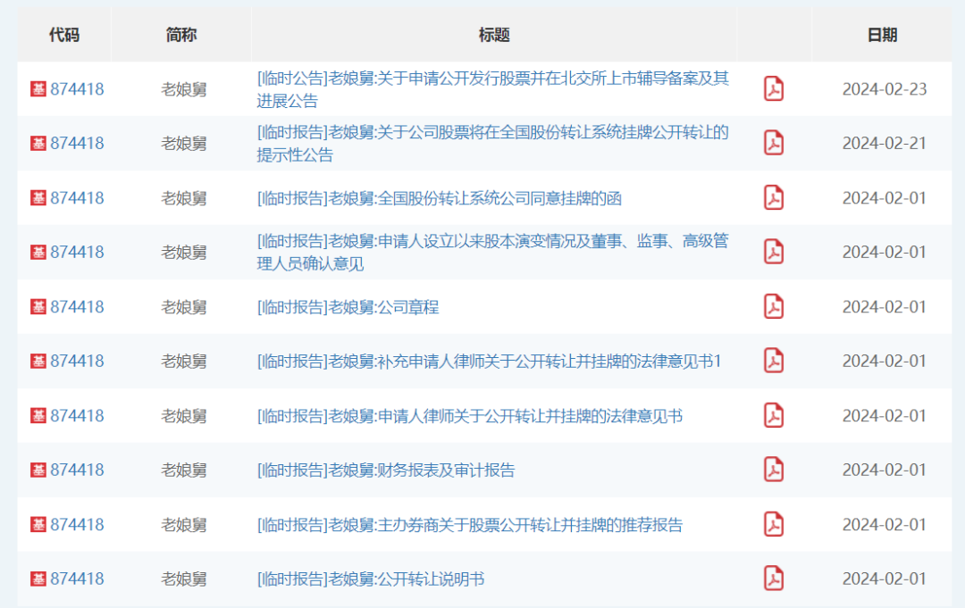
老娘舅餐饮股份有限公司于2024年2月6日与中信证券股份有限公司签署了关于向不特定合格投资者公开发行股票并在北京证券交易所上市之辅导协议

回溯老娘舅的上市之路,算得上一波三折。

2022年7月,老娘舅首次向证监会递交了主板IPO申报材料。2023年11月,由于保荐机构中信证券撤销保荐,上交所终止了IPO审核。

一个多月后,老娘舅转投新三板,并于今年2月22日成功挂牌。在新三板挂牌的第二天,老娘舅就火速启动了在北交所的上市辅导。

从当下的股东结构来看,老娘舅实际控制人为杨国民、杨峻珲父子,合计控制公司53.09%的股份。

此外,公司被一众投资机构簇拥。其中包括隶属于劲霸投资的劲邦投资;香飘飘实控人蒋建琪;以及由娃哈哈集团副董事长兼总经理宗馥莉实际控制的瑾汇投资。

丽水瑾汇股权投资合伙企业(有限合伙)持股463.64万股,持股比例1.36%。该公司股东为宁波瑾汇投资管理有限公司及宗馥莉,其中宗馥莉持股比例99%。

2020年9月,公司与各投资方签署增资协议,约定了反稀释条款、信息披露安排等条款。2020年9月,杨国民与各投资方签署增资协议之补充协议,约定公司发生下列情形之一时,投资方有权要求杨国民回购股份:(1)公司无法在2022年12月31日前向证监会或证券交易所提交首次公开发行上市申报材料;(2)公司无法在2025年12月31日前完成IPO上市;(3)公司撤回上市申请、上市申请被否决、公司终止、放弃上市计划。回购价格为投资方投资额加计投资期间8%(源钰投资)或6% (瑾汇投资、城霖投资、城卓投资、城锦投资)年化利率并扣减投资方投资期间累计取得的分红。补充协议同时约定了保证和承诺、共同出售权等方面的其他股东特殊权利。

原班人马保驾护航

此次由新三板转战北交所,老娘舅的中介机构也都是此前上交所IPO的“原班人马”。

首次中介团队:

保荐机构:中信证券股份有限公司

保荐代表人:胡娴,游通

会计师事务所:普华永道中天会计师事务所(特殊普通合伙) 

签字会计师:潘振翔,李嘉玮

律师事务所:北京市竞天公诚律师事务所

签字律师:周璇,李峰,陈皆喜

北交所团队:

董秘兼财务总监薪酬最高

老娘舅董事会秘书兼财务负责人、副总经理为周光斌,2021年薪酬88.13万元,在高管中薪酬最高,为董事长薪酬的近2倍。

周光斌,男,1974年11月出生,中国国籍,无境外永久居留权,毕业于上海交通大学会计学专业,硕士研究生学历;2001年4月至2003年1月任上海东福食品有限公司财务经理;2003年2月至2017年3月任大昌行集团有限公司财务总监;2017年4月至2017年6月任上海比瑞吉宠物用品股份有限公司财务总监;2017年10月至2020年8月任老娘舅财信总监,2020年8月至今任老娘舅董事会秘书兼财务负责人;2021年8月至今任老娘舅副总经理。

信息来源:上交所、公司公告、企业上市

【北大财务BP研修班培训报名
手   机:132 6996 8805

推荐阅读

Recommended reading

  • 华为会计高效工作大礼包.pdf(28份)

  • 万科集团财务管理制度手册.doc (74页)

  • 四大财务管理培训资料.ppt (12份

  • IPO审计资料.PPT(10份限时免费领取)

  • 一份完美财务工作手册等培训资料 (10份)

  • 最全的企业成本核算表资料.doc(31份)

  • 内部控制制度手册.zip(44份)

  • 内部审计资料.zip(15份)

  • 财务绩效管理.zip(20份)

  • 股权架构设计实操手册.PDF (307页)

  • 股权激励实务操作完全手册.PDF(278页)

  • 名企全套股权设计方案.doc (1000份)

  • 全面预算管理资料.doc (115份)

  • 财务合同管理大全.doc (1500份合同范本)

  • 最全的企业成本核算表资料.doc(31份)

  • 四大|德勤审计内部培训资料.PPT (13份)

  • 普华永道、海尔财务管理培训.PPT

  • 企业税务筹划资料.PPT (6份)

  • 财务管理体系.zip(16份)

  • 电子书|《教你做一名做账高手》

  • 企业薪酬管理必备资料

  • 财务造假大全资料包

  • 华为全面预算管理

  • 财务预算资料.PPT(6份)

  • 内控制度大全资料(13份PPT)

  • 应收账款资料(20份)

  • Excel函数应用

  • 华为内部审计

  • 全套财务管理制度手册

  • 乱账处理技巧

  • 财务分析报告模板

  • 财务常用表格模板

  • 现金流量表学习资料-5份

  • 尽职调查资料-21份

  • 财务分析资料-47份

  • 财务分析报告PPT-10份

  • 企业纳税筹划完全手册-664页

  • 毕马威,德勤培训资料-3份

  • 安永财务培训-5份

  • 可视化财务报表.zip(312份)

  • IPO全套 实务资料集.zip(1884份)

  • 股权融资-108份

  • 成本控制手册-26份

  • 企业并购重组-109

  • 全面预算管理

  • 采购内部控制管理资料集

  • 税务实战资料包

  • IPO被否案例分析手册

  • 审计工作底稿

  • 900套高逼格Excel表格

  • 精选IPO财务问题审核800例

  • 43万字!合伙人、股权分配、股权激励资料汇编

  • 60套境外上市实务资料

  • 史上最全面上市公司实操干货资料整理

  • 高盛-100份顶级投行估值建模培训资料

  •  2份增值税纳税申报资料.word

  • 2份增值税纳税申报资料.word

  • 2份汇算清澈100问资料.

  • 50份财务实用资料.PPT

  • 9份会计分录资料.word

  • 9份Excel快捷键大全资料.JPG

  • 24份财务人必备工资条资料.Excel

  • 83份合理避税大全资料.word

  • 电子书 | 《从总账到总监的成长之路

  • 【北大财务BP研修班培训报名

    手   机:132 6996 8805

    最新文章

    随机文章

    基本 文件 流程 错误 SQL 调试
    1. 请求信息 : 2025-11-22 02:16:55 HTTP/1.1 GET : https://www.rcgz.com.cn/a/230811.html
    2. 运行时间 : 0.115758s [ 吞吐率:8.64req/s ] 内存消耗:5,677.84kb 文件加载:140
    3. 缓存信息 : 0 reads,0 writes
    4. 会话信息 : SESSION_ID=ca7b91a016e093738cd59e31ff91435d
    1. /yingpanguazai/ssd/ssd1/www/www.rcgz.com.cn/public/index.php ( 0.79 KB )
    2. /yingpanguazai/ssd/ssd1/www/www.rcgz.com.cn/vendor/autoload.php ( 0.17 KB )
    3. /yingpanguazai/ssd/ssd1/www/www.rcgz.com.cn/vendor/composer/autoload_real.php ( 2.49 KB )
    4. /yingpanguazai/ssd/ssd1/www/www.rcgz.com.cn/vendor/composer/platform_check.php ( 0.90 KB )
    5. /yingpanguazai/ssd/ssd1/www/www.rcgz.com.cn/vendor/composer/ClassLoader.php ( 14.03 KB )
    6. /yingpanguazai/ssd/ssd1/www/www.rcgz.com.cn/vendor/composer/autoload_static.php ( 4.90 KB )
    7. /yingpanguazai/ssd/ssd1/www/www.rcgz.com.cn/vendor/topthink/think-helper/src/helper.php ( 8.34 KB )
    8. /yingpanguazai/ssd/ssd1/www/www.rcgz.com.cn/vendor/topthink/think-validate/src/helper.php ( 2.19 KB )
    9. /yingpanguazai/ssd/ssd1/www/www.rcgz.com.cn/vendor/topthink/think-orm/src/helper.php ( 1.47 KB )
    10. /yingpanguazai/ssd/ssd1/www/www.rcgz.com.cn/vendor/topthink/think-orm/stubs/load_stubs.php ( 0.16 KB )
    11. /yingpanguazai/ssd/ssd1/www/www.rcgz.com.cn/vendor/topthink/framework/src/think/Exception.php ( 1.69 KB )
    12. /yingpanguazai/ssd/ssd1/www/www.rcgz.com.cn/vendor/topthink/think-container/src/Facade.php ( 2.71 KB )
    13. /yingpanguazai/ssd/ssd1/www/www.rcgz.com.cn/vendor/symfony/deprecation-contracts/function.php ( 0.99 KB )
    14. /yingpanguazai/ssd/ssd1/www/www.rcgz.com.cn/vendor/symfony/polyfill-mbstring/bootstrap.php ( 8.26 KB )
    15. /yingpanguazai/ssd/ssd1/www/www.rcgz.com.cn/vendor/symfony/polyfill-mbstring/bootstrap80.php ( 9.78 KB )
    16. /yingpanguazai/ssd/ssd1/www/www.rcgz.com.cn/vendor/symfony/var-dumper/Resources/functions/dump.php ( 1.49 KB )
    17. /yingpanguazai/ssd/ssd1/www/www.rcgz.com.cn/vendor/topthink/think-dumper/src/helper.php ( 0.18 KB )
    18. /yingpanguazai/ssd/ssd1/www/www.rcgz.com.cn/vendor/symfony/var-dumper/VarDumper.php ( 4.30 KB )
    19. /yingpanguazai/ssd/ssd1/www/www.rcgz.com.cn/vendor/topthink/framework/src/think/App.php ( 15.30 KB )
    20. /yingpanguazai/ssd/ssd1/www/www.rcgz.com.cn/vendor/topthink/think-container/src/Container.php ( 15.76 KB )
    21. /yingpanguazai/ssd/ssd1/www/www.rcgz.com.cn/vendor/psr/container/src/ContainerInterface.php ( 1.02 KB )
    22. /yingpanguazai/ssd/ssd1/www/www.rcgz.com.cn/app/provider.php ( 0.19 KB )
    23. /yingpanguazai/ssd/ssd1/www/www.rcgz.com.cn/vendor/topthink/framework/src/think/Http.php ( 6.04 KB )
    24. /yingpanguazai/ssd/ssd1/www/www.rcgz.com.cn/vendor/topthink/think-helper/src/helper/Str.php ( 7.29 KB )
    25. /yingpanguazai/ssd/ssd1/www/www.rcgz.com.cn/vendor/topthink/framework/src/think/Env.php ( 4.68 KB )
    26. /yingpanguazai/ssd/ssd1/www/www.rcgz.com.cn/app/common.php ( 0.03 KB )
    27. /yingpanguazai/ssd/ssd1/www/www.rcgz.com.cn/vendor/topthink/framework/src/helper.php ( 18.78 KB )
    28. /yingpanguazai/ssd/ssd1/www/www.rcgz.com.cn/vendor/topthink/framework/src/think/Config.php ( 5.54 KB )
    29. /yingpanguazai/ssd/ssd1/www/www.rcgz.com.cn/config/app.php ( 0.95 KB )
    30. /yingpanguazai/ssd/ssd1/www/www.rcgz.com.cn/config/cache.php ( 0.78 KB )
    31. /yingpanguazai/ssd/ssd1/www/www.rcgz.com.cn/config/console.php ( 0.23 KB )
    32. /yingpanguazai/ssd/ssd1/www/www.rcgz.com.cn/config/cookie.php ( 0.56 KB )
    33. /yingpanguazai/ssd/ssd1/www/www.rcgz.com.cn/config/database.php ( 2.47 KB )
    34. /yingpanguazai/ssd/ssd1/www/www.rcgz.com.cn/vendor/topthink/framework/src/think/facade/Env.php ( 1.67 KB )
    35. /yingpanguazai/ssd/ssd1/www/www.rcgz.com.cn/config/filesystem.php ( 0.61 KB )
    36. /yingpanguazai/ssd/ssd1/www/www.rcgz.com.cn/config/lang.php ( 0.91 KB )
    37. /yingpanguazai/ssd/ssd1/www/www.rcgz.com.cn/config/log.php ( 1.35 KB )
    38. /yingpanguazai/ssd/ssd1/www/www.rcgz.com.cn/config/middleware.php ( 0.19 KB )
    39. /yingpanguazai/ssd/ssd1/www/www.rcgz.com.cn/config/route.php ( 1.89 KB )
    40. /yingpanguazai/ssd/ssd1/www/www.rcgz.com.cn/config/session.php ( 0.57 KB )
    41. /yingpanguazai/ssd/ssd1/www/www.rcgz.com.cn/config/trace.php ( 0.34 KB )
    42. /yingpanguazai/ssd/ssd1/www/www.rcgz.com.cn/config/view.php ( 0.82 KB )
    43. /yingpanguazai/ssd/ssd1/www/www.rcgz.com.cn/app/event.php ( 0.25 KB )
    44. /yingpanguazai/ssd/ssd1/www/www.rcgz.com.cn/vendor/topthink/framework/src/think/Event.php ( 7.67 KB )
    45. /yingpanguazai/ssd/ssd1/www/www.rcgz.com.cn/app/service.php ( 0.13 KB )
    46. /yingpanguazai/ssd/ssd1/www/www.rcgz.com.cn/app/AppService.php ( 0.26 KB )
    47. /yingpanguazai/ssd/ssd1/www/www.rcgz.com.cn/vendor/topthink/framework/src/think/Service.php ( 1.64 KB )
    48. /yingpanguazai/ssd/ssd1/www/www.rcgz.com.cn/vendor/topthink/framework/src/think/Lang.php ( 7.35 KB )
    49. /yingpanguazai/ssd/ssd1/www/www.rcgz.com.cn/vendor/topthink/framework/src/lang/zh-cn.php ( 13.70 KB )
    50. /yingpanguazai/ssd/ssd1/www/www.rcgz.com.cn/vendor/topthink/framework/src/think/initializer/Error.php ( 3.31 KB )
    51. /yingpanguazai/ssd/ssd1/www/www.rcgz.com.cn/vendor/topthink/framework/src/think/initializer/RegisterService.php ( 1.33 KB )
    52. /yingpanguazai/ssd/ssd1/www/www.rcgz.com.cn/vendor/services.php ( 0.14 KB )
    53. /yingpanguazai/ssd/ssd1/www/www.rcgz.com.cn/vendor/topthink/framework/src/think/service/PaginatorService.php ( 1.52 KB )
    54. /yingpanguazai/ssd/ssd1/www/www.rcgz.com.cn/vendor/topthink/framework/src/think/service/ValidateService.php ( 0.99 KB )
    55. /yingpanguazai/ssd/ssd1/www/www.rcgz.com.cn/vendor/topthink/framework/src/think/service/ModelService.php ( 2.04 KB )
    56. /yingpanguazai/ssd/ssd1/www/www.rcgz.com.cn/vendor/topthink/think-trace/src/Service.php ( 0.77 KB )
    57. /yingpanguazai/ssd/ssd1/www/www.rcgz.com.cn/vendor/topthink/framework/src/think/Middleware.php ( 6.72 KB )
    58. /yingpanguazai/ssd/ssd1/www/www.rcgz.com.cn/vendor/topthink/framework/src/think/initializer/BootService.php ( 0.77 KB )
    59. /yingpanguazai/ssd/ssd1/www/www.rcgz.com.cn/vendor/topthink/think-orm/src/Paginator.php ( 11.86 KB )
    60. /yingpanguazai/ssd/ssd1/www/www.rcgz.com.cn/vendor/topthink/think-validate/src/Validate.php ( 63.20 KB )
    61. /yingpanguazai/ssd/ssd1/www/www.rcgz.com.cn/vendor/topthink/think-orm/src/Model.php ( 23.55 KB )
    62. /yingpanguazai/ssd/ssd1/www/www.rcgz.com.cn/vendor/topthink/think-orm/src/model/concern/Attribute.php ( 21.05 KB )
    63. /yingpanguazai/ssd/ssd1/www/www.rcgz.com.cn/vendor/topthink/think-orm/src/model/concern/AutoWriteData.php ( 4.21 KB )
    64. /yingpanguazai/ssd/ssd1/www/www.rcgz.com.cn/vendor/topthink/think-orm/src/model/concern/Conversion.php ( 6.44 KB )
    65. /yingpanguazai/ssd/ssd1/www/www.rcgz.com.cn/vendor/topthink/think-orm/src/model/concern/DbConnect.php ( 5.16 KB )
    66. /yingpanguazai/ssd/ssd1/www/www.rcgz.com.cn/vendor/topthink/think-orm/src/model/concern/ModelEvent.php ( 2.33 KB )
    67. /yingpanguazai/ssd/ssd1/www/www.rcgz.com.cn/vendor/topthink/think-orm/src/model/concern/RelationShip.php ( 28.29 KB )
    68. /yingpanguazai/ssd/ssd1/www/www.rcgz.com.cn/vendor/topthink/think-helper/src/contract/Arrayable.php ( 0.09 KB )
    69. /yingpanguazai/ssd/ssd1/www/www.rcgz.com.cn/vendor/topthink/think-helper/src/contract/Jsonable.php ( 0.13 KB )
    70. /yingpanguazai/ssd/ssd1/www/www.rcgz.com.cn/vendor/topthink/think-orm/src/model/contract/Modelable.php ( 0.09 KB )
    71. /yingpanguazai/ssd/ssd1/www/www.rcgz.com.cn/vendor/topthink/framework/src/think/Db.php ( 2.88 KB )
    72. /yingpanguazai/ssd/ssd1/www/www.rcgz.com.cn/vendor/topthink/think-orm/src/DbManager.php ( 8.52 KB )
    73. /yingpanguazai/ssd/ssd1/www/www.rcgz.com.cn/vendor/topthink/framework/src/think/Log.php ( 6.28 KB )
    74. /yingpanguazai/ssd/ssd1/www/www.rcgz.com.cn/vendor/topthink/framework/src/think/Manager.php ( 3.92 KB )
    75. /yingpanguazai/ssd/ssd1/www/www.rcgz.com.cn/vendor/psr/log/src/LoggerTrait.php ( 2.69 KB )
    76. /yingpanguazai/ssd/ssd1/www/www.rcgz.com.cn/vendor/psr/log/src/LoggerInterface.php ( 2.71 KB )
    77. /yingpanguazai/ssd/ssd1/www/www.rcgz.com.cn/vendor/topthink/framework/src/think/Cache.php ( 4.92 KB )
    78. /yingpanguazai/ssd/ssd1/www/www.rcgz.com.cn/vendor/psr/simple-cache/src/CacheInterface.php ( 4.71 KB )
    79. /yingpanguazai/ssd/ssd1/www/www.rcgz.com.cn/vendor/topthink/think-helper/src/helper/Arr.php ( 16.63 KB )
    80. /yingpanguazai/ssd/ssd1/www/www.rcgz.com.cn/vendor/topthink/framework/src/think/cache/driver/File.php ( 7.84 KB )
    81. /yingpanguazai/ssd/ssd1/www/www.rcgz.com.cn/vendor/topthink/framework/src/think/cache/Driver.php ( 9.03 KB )
    82. /yingpanguazai/ssd/ssd1/www/www.rcgz.com.cn/vendor/topthink/framework/src/think/contract/CacheHandlerInterface.php ( 1.99 KB )
    83. /yingpanguazai/ssd/ssd1/www/www.rcgz.com.cn/app/Request.php ( 0.09 KB )
    84. /yingpanguazai/ssd/ssd1/www/www.rcgz.com.cn/vendor/topthink/framework/src/think/Request.php ( 55.78 KB )
    85. /yingpanguazai/ssd/ssd1/www/www.rcgz.com.cn/app/middleware.php ( 0.25 KB )
    86. /yingpanguazai/ssd/ssd1/www/www.rcgz.com.cn/vendor/topthink/framework/src/think/Pipeline.php ( 2.61 KB )
    87. /yingpanguazai/ssd/ssd1/www/www.rcgz.com.cn/vendor/topthink/think-trace/src/TraceDebug.php ( 3.40 KB )
    88. /yingpanguazai/ssd/ssd1/www/www.rcgz.com.cn/vendor/topthink/framework/src/think/middleware/SessionInit.php ( 1.94 KB )
    89. /yingpanguazai/ssd/ssd1/www/www.rcgz.com.cn/vendor/topthink/framework/src/think/Session.php ( 1.80 KB )
    90. /yingpanguazai/ssd/ssd1/www/www.rcgz.com.cn/vendor/topthink/framework/src/think/session/driver/File.php ( 6.27 KB )
    91. /yingpanguazai/ssd/ssd1/www/www.rcgz.com.cn/vendor/topthink/framework/src/think/contract/SessionHandlerInterface.php ( 0.87 KB )
    92. /yingpanguazai/ssd/ssd1/www/www.rcgz.com.cn/vendor/topthink/framework/src/think/session/Store.php ( 7.12 KB )
    93. /yingpanguazai/ssd/ssd1/www/www.rcgz.com.cn/vendor/topthink/framework/src/think/Route.php ( 23.73 KB )
    94. /yingpanguazai/ssd/ssd1/www/www.rcgz.com.cn/vendor/topthink/framework/src/think/route/RuleName.php ( 5.75 KB )
    95. /yingpanguazai/ssd/ssd1/www/www.rcgz.com.cn/vendor/topthink/framework/src/think/route/Domain.php ( 2.53 KB )
    96. /yingpanguazai/ssd/ssd1/www/www.rcgz.com.cn/vendor/topthink/framework/src/think/route/RuleGroup.php ( 22.43 KB )
    97. /yingpanguazai/ssd/ssd1/www/www.rcgz.com.cn/vendor/topthink/framework/src/think/route/Rule.php ( 26.95 KB )
    98. /yingpanguazai/ssd/ssd1/www/www.rcgz.com.cn/vendor/topthink/framework/src/think/route/RuleItem.php ( 9.78 KB )
    99. /yingpanguazai/ssd/ssd1/www/www.rcgz.com.cn/route/app.php ( 1.72 KB )
    100. /yingpanguazai/ssd/ssd1/www/www.rcgz.com.cn/vendor/topthink/framework/src/think/facade/Route.php ( 4.70 KB )
    101. /yingpanguazai/ssd/ssd1/www/www.rcgz.com.cn/vendor/topthink/framework/src/think/route/dispatch/Controller.php ( 4.74 KB )
    102. /yingpanguazai/ssd/ssd1/www/www.rcgz.com.cn/vendor/topthink/framework/src/think/route/Dispatch.php ( 10.44 KB )
    103. /yingpanguazai/ssd/ssd1/www/www.rcgz.com.cn/app/controller/Index.php ( 4.61 KB )
    104. /yingpanguazai/ssd/ssd1/www/www.rcgz.com.cn/app/BaseController.php ( 2.05 KB )
    105. /yingpanguazai/ssd/ssd1/www/www.rcgz.com.cn/vendor/topthink/think-orm/src/facade/Db.php ( 0.93 KB )
    106. /yingpanguazai/ssd/ssd1/www/www.rcgz.com.cn/vendor/topthink/think-orm/src/db/connector/Mysql.php ( 5.44 KB )
    107. /yingpanguazai/ssd/ssd1/www/www.rcgz.com.cn/vendor/topthink/think-orm/src/db/PDOConnection.php ( 52.47 KB )
    108. /yingpanguazai/ssd/ssd1/www/www.rcgz.com.cn/vendor/topthink/think-orm/src/db/Connection.php ( 8.39 KB )
    109. /yingpanguazai/ssd/ssd1/www/www.rcgz.com.cn/vendor/topthink/think-orm/src/db/ConnectionInterface.php ( 4.57 KB )
    110. /yingpanguazai/ssd/ssd1/www/www.rcgz.com.cn/vendor/topthink/think-orm/src/db/builder/Mysql.php ( 16.58 KB )
    111. /yingpanguazai/ssd/ssd1/www/www.rcgz.com.cn/vendor/topthink/think-orm/src/db/Builder.php ( 24.06 KB )
    112. /yingpanguazai/ssd/ssd1/www/www.rcgz.com.cn/vendor/topthink/think-orm/src/db/BaseBuilder.php ( 27.50 KB )
    113. /yingpanguazai/ssd/ssd1/www/www.rcgz.com.cn/vendor/topthink/think-orm/src/db/Query.php ( 15.71 KB )
    114. /yingpanguazai/ssd/ssd1/www/www.rcgz.com.cn/vendor/topthink/think-orm/src/db/BaseQuery.php ( 45.13 KB )
    115. /yingpanguazai/ssd/ssd1/www/www.rcgz.com.cn/vendor/topthink/think-orm/src/db/concern/TimeFieldQuery.php ( 7.43 KB )
    116. /yingpanguazai/ssd/ssd1/www/www.rcgz.com.cn/vendor/topthink/think-orm/src/db/concern/AggregateQuery.php ( 3.26 KB )
    117. /yingpanguazai/ssd/ssd1/www/www.rcgz.com.cn/vendor/topthink/think-orm/src/db/concern/ModelRelationQuery.php ( 20.07 KB )
    118. /yingpanguazai/ssd/ssd1/www/www.rcgz.com.cn/vendor/topthink/think-orm/src/db/concern/ParamsBind.php ( 3.66 KB )
    119. /yingpanguazai/ssd/ssd1/www/www.rcgz.com.cn/vendor/topthink/think-orm/src/db/concern/ResultOperation.php ( 7.01 KB )
    120. /yingpanguazai/ssd/ssd1/www/www.rcgz.com.cn/vendor/topthink/think-orm/src/db/concern/WhereQuery.php ( 19.37 KB )
    121. /yingpanguazai/ssd/ssd1/www/www.rcgz.com.cn/vendor/topthink/think-orm/src/db/concern/JoinAndViewQuery.php ( 7.11 KB )
    122. /yingpanguazai/ssd/ssd1/www/www.rcgz.com.cn/vendor/topthink/think-orm/src/db/concern/TableFieldInfo.php ( 2.63 KB )
    123. /yingpanguazai/ssd/ssd1/www/www.rcgz.com.cn/vendor/topthink/think-orm/src/db/concern/Transaction.php ( 2.77 KB )
    124. /yingpanguazai/ssd/ssd1/www/www.rcgz.com.cn/vendor/topthink/framework/src/think/log/driver/File.php ( 5.96 KB )
    125. /yingpanguazai/ssd/ssd1/www/www.rcgz.com.cn/vendor/topthink/framework/src/think/contract/LogHandlerInterface.php ( 0.86 KB )
    126. /yingpanguazai/ssd/ssd1/www/www.rcgz.com.cn/vendor/topthink/framework/src/think/log/Channel.php ( 3.89 KB )
    127. /yingpanguazai/ssd/ssd1/www/www.rcgz.com.cn/vendor/topthink/framework/src/think/event/LogRecord.php ( 1.02 KB )
    128. /yingpanguazai/ssd/ssd1/www/www.rcgz.com.cn/vendor/topthink/think-helper/src/Collection.php ( 16.47 KB )
    129. /yingpanguazai/ssd/ssd1/www/www.rcgz.com.cn/vendor/topthink/framework/src/think/facade/View.php ( 1.70 KB )
    130. /yingpanguazai/ssd/ssd1/www/www.rcgz.com.cn/vendor/topthink/framework/src/think/View.php ( 4.39 KB )
    131. /yingpanguazai/ssd/ssd1/www/www.rcgz.com.cn/vendor/topthink/framework/src/think/Response.php ( 8.81 KB )
    132. /yingpanguazai/ssd/ssd1/www/www.rcgz.com.cn/vendor/topthink/framework/src/think/response/View.php ( 3.29 KB )
    133. /yingpanguazai/ssd/ssd1/www/www.rcgz.com.cn/vendor/topthink/framework/src/think/Cookie.php ( 6.06 KB )
    134. /yingpanguazai/ssd/ssd1/www/www.rcgz.com.cn/vendor/topthink/think-view/src/Think.php ( 8.38 KB )
    135. /yingpanguazai/ssd/ssd1/www/www.rcgz.com.cn/vendor/topthink/framework/src/think/contract/TemplateHandlerInterface.php ( 1.60 KB )
    136. /yingpanguazai/ssd/ssd1/www/www.rcgz.com.cn/vendor/topthink/think-template/src/Template.php ( 46.61 KB )
    137. /yingpanguazai/ssd/ssd1/www/www.rcgz.com.cn/vendor/topthink/think-template/src/template/driver/File.php ( 2.41 KB )
    138. /yingpanguazai/ssd/ssd1/www/www.rcgz.com.cn/vendor/topthink/think-template/src/template/contract/DriverInterface.php ( 0.86 KB )
    139. /yingpanguazai/ssd/ssd1/www/www.rcgz.com.cn/runtime/temp/4ccc31682e91250e929c465cbfffcfa0.php ( 12.22 KB )
    140. /yingpanguazai/ssd/ssd1/www/www.rcgz.com.cn/vendor/topthink/think-trace/src/Html.php ( 4.42 KB )
    1. CONNECT:[ UseTime:0.000548s ] mysql:host=127.0.0.1;port=3306;dbname=rcgz;charset=utf8mb4
    2. SHOW FULL COLUMNS FROM `fenlei` [ RunTime:0.000893s ]
    3. SELECT * FROM `fenlei` WHERE `fid` = 0 [ RunTime:0.000295s ]
    4. SELECT * FROM `fenlei` WHERE `fid` = 1 [ RunTime:0.000327s ]
    5. SELECT * FROM `fenlei` WHERE `fid` = 2 [ RunTime:0.000309s ]
    6. SELECT * FROM `fenlei` WHERE `fid` = 3 [ RunTime:0.000239s ]
    7. SELECT * FROM `fenlei` WHERE `fid` = 4 [ RunTime:0.000209s ]
    8. SELECT * FROM `fenlei` WHERE `fid` = 5 [ RunTime:0.000210s ]
    9. SELECT * FROM `fenlei` WHERE `fid` = 6 [ RunTime:0.000187s ]
    10. SELECT * FROM `fenlei` WHERE `fid` = 7 [ RunTime:0.000214s ]
    11. SELECT * FROM `fenlei` WHERE `fid` = 37 [ RunTime:0.000185s ]
    12. SHOW FULL COLUMNS FROM `article` [ RunTime:0.000514s ]
    13. SELECT * FROM `article` WHERE `id` = 230811 LIMIT 1 [ RunTime:0.000532s ]
    14. UPDATE `article` SET `lasttime` = 1763749015 WHERE `id` = 230811 [ RunTime:0.003738s ]
    15. SELECT * FROM `fenlei` WHERE `id` = 4 LIMIT 1 [ RunTime:0.000222s ]
    16. SELECT * FROM `article` WHERE `id` < 230811 ORDER BY `id` DESC LIMIT 1 [ RunTime:0.000418s ]
    17. SELECT * FROM `article` WHERE `id` > 230811 ORDER BY `id` ASC LIMIT 1 [ RunTime:0.000385s ]
    18. SELECT * FROM `article` WHERE `id` < 230811 ORDER BY `id` DESC LIMIT 10 [ RunTime:0.011053s ]
    19. SELECT * FROM `article` WHERE `id` < 230811 ORDER BY `id` DESC LIMIT 10,10 [ RunTime:0.005682s ]
    20. SELECT * FROM `article` WHERE `id` < 230811 ORDER BY `id` DESC LIMIT 20,10 [ RunTime:0.012451s ]
    0.117390s